cart icon0

BT40-45C-S | штревель

Артикул
BT40-45C-S
GESAC
штревель BT40-45C-S
штревель
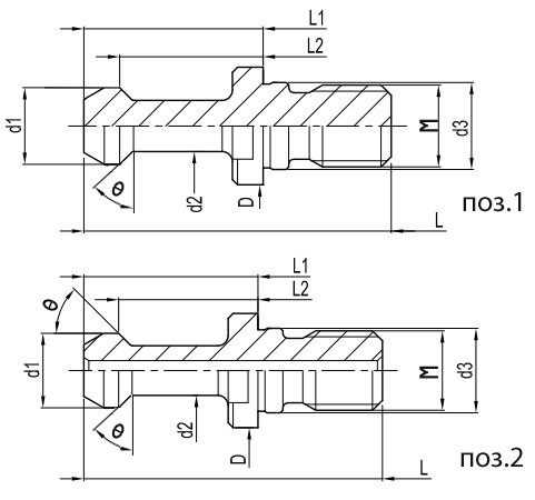
d1
15
Тип ЗИП
штревель
Для фрезерных оправок
BT40
d2
10
D
23
L
60
Резьба (M)
M16
d3
17
L1
35
L2
28
Θ
45°
S
19
Позиция
2
Количество на складе
15
В корзину